오일 압력 스위치(OPSw, Oil Pressure Switch)
오일 압력 스위치의 기능
오일압력스위치는 엔진오일의 압력을 감시하는 역할을 한다.
윤활계통의 오일압력이 보통 0.29kg/cm2 이하로 떨어지면 오일압력 경고등이 점등하게 된다.

오일 압력 스위치의 작동 원리
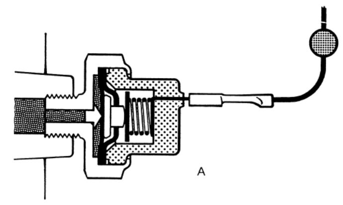
시동 후 오일펌프(Oil Pump)에 의해 가압된 엔진 오일은 오일통로를 거쳐 엔진의 각 부위에 윤활부로 엔진 오일을 공급한다. 이 때 오일통로에 설치된 오일압력스위치에는 엔진오일의 압력이 전달되고 오일의 압력에 의해 다이어프램(Diaphragm)에 연결되 플런저(Plunger)가 스프링(Spring)의 장력을 이기고 위로 올라가게 되면 접점(Contact plate)이 떨어지게 된다.그림A 참조

이 위치에서 오일압력 스위치 내부는 단선 상태가 되어 터미널(Terminal)과 연결된 계기판의 엔진오일 경고등은 점멸하게 된다. 반대로 오일의 압력이 낮아지면 스프링에 의해 플런저가 밀려나 접점이 붙게 되고 엔진오일 경고등은 점등하게 된다. 그림 B 참조

오일 압력 스위치의 설치 위치
엔진 오일이 지나가는 실린더 블록의 오일 주통로에 설치되어 있다.

오일 압력 스위치의 점검
1) 저항계로 터미털과 몸체 사이의 통전을 점검하여 통전이 되면 오일 압력 스위치를 교환한다.
2) 얇은 막대로 누를 때 터미널과 보디 사이의 통전이 되면 오일 압력 스위치를 교환한다.
3) 오일 구멍을 통해 0.3kg/cm2의 부압을 가했을 때 통전이 안되면 스위치는 정상이다.
적절히 작동이 안 되면 공기의 누설을 점검한다. 공기가 누설되는 것은 다이어프램이 파손된 것이므로 스위치를 교환한다.

오일 압력 스위치의 고장 증상
1)고장 코드 : 엔진 오일 경고등 점등
2)고장 원인 : 엔진 오일의 부족, 엔진오일 누유, 오일펌프 고장 등
오일 압력 스위치 점등 시 조치
1) 주행 중 엔진오일 경고등이 계기판에 표시되면, 차량 운행을 정지하고, 엔진오일 게이지를 확인하여 오일량을 점검하고 부족 시 엔진 오일을 보충한다. 엔진 오일은 누유 혹은 기계적 고장이 없어도 자연적으로 줄어들 수 있다. 연소실에 유입 된 엔진오일이 혼합기와 함께 대기로 방출되기 때문이다. 그래서 엔진 오일은 정비 지침서에 따라 정기적으로 교환하여 교환 주기를 넘기지 않도록 해야 한다.
2) 엔진 오일량이 정상일 경우는 오일압력 스위치의 고장일 경우도 있다.
주로 엔진 오일압력스위치의 내부접점의 단락이 발생하면 오일압력이 충분하여도 엔진오일 경고등이 점등된다.

--------------------------------------------------------------------------------------------------------------
중고 자동차 점검 및 매매 지원 서비스(www.korea-autonews.com)
(https://korea-autonews.tistory.com/category/%EA%B3%B5%EC%A7%80%20%EC%82%AC%ED%95%AD)
1. 개인 중고차 매매 시 중고 자동차 점검
- 중대 사고 여부, 침수차 여부, 기타 자동차 점검
- 자동차 엔진 및 트랜스미션 중요 결함 여부 점검
2. 법인 자동차 관리
- 자동차 정기 점검, 자동차 유지 및 정비
- 자동차 Life cycle 관리 및 중고차 판매 조건
- 회사 보유 중고차 대량 구매 및 판매 서비스
3. 자동차 매매 대행 서비스
- 기존 보유 중고차 판매 시 최고가 판매 조건 검색 및 견적 제출
- 중고 자동차 구매 시 최저가 조건 검색 및 구매 중고차 성능 점검
4. 기타
- 자동차 개발 및 정비 분야 30년 경력
(자동차정비기사, 자동차 산업기사, 중고차 진단평가 1급 자격증 보유)
- 본인 출판 책 LIST(자동차 중고 구매 및 자동차 사용법)
1) 지구를 살리는 친환경 자동차 사용법(Yes 24)
2) 자동차 50년 100만 km 타는 법(Yes 24)
3) 자동차 왕초보 중고차 구매법(Yes 24)
- 자동차 서비스 제공 불만족 시 100% 환불
5. 문의 연락처 : 카닥(Car Doc), HP : 010-7102-8900, e-mail : koreaautonews@gmail.com
--------------------------------------------------------------------------------------------------------------
'자동차 부품' 카테고리의 다른 글
| 에어컨 컨덴서(Air conditioner condenser) 기능 (0) | 2021.01.29 |
|---|---|
| 냉각 수온 센서(WTS, Water Temperature Sensor) 기능 및 고장시 점검 (0) | 2020.03.26 |
| 23. 자동차 연료 펌프(Fuel Pump) 부품의 기능 및 구성 (0) | 2018.01.16 |
| 21. 캐니스터(Canister)의 기능 [자동차 부품] (0) | 2018.01.11 |
| 21. 자동차 와이퍼의 종류와 특징 (0) | 2015.10.05 |